Close
Publizieren
Besondere Sammlungen
Digitalisierungsservice
Hilfe
Impressum
Datenschutz
Search Details
Quicksearch:
OK
Result-List
Title
Title
Content
Content
Page
Page
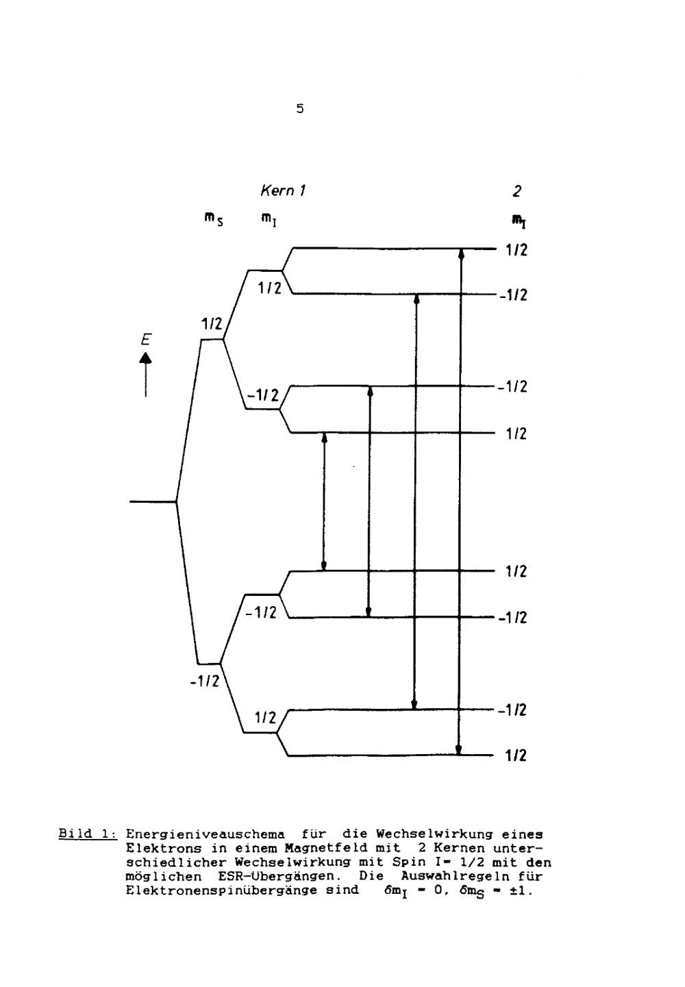
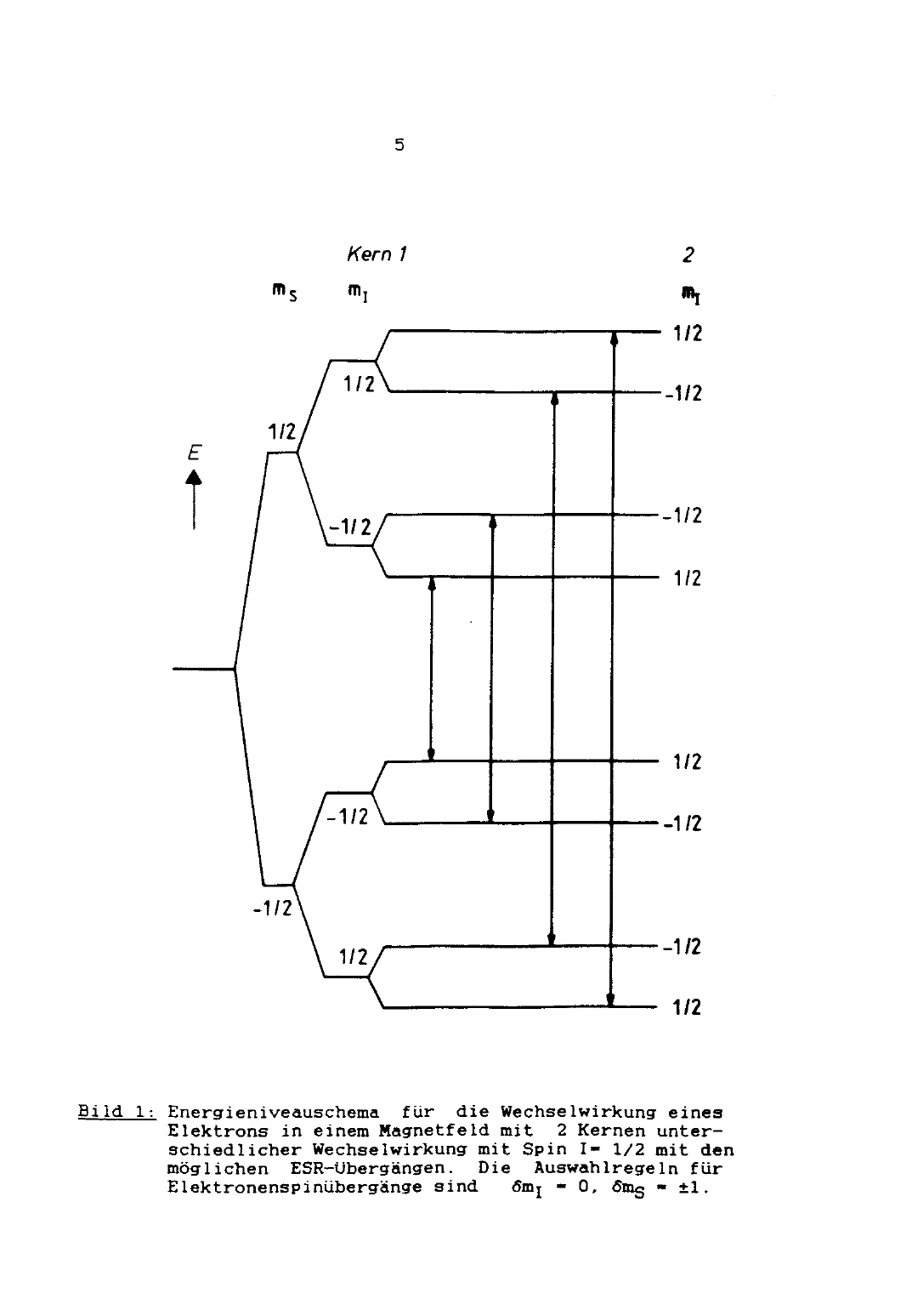
ENDOR-Untersuchungen an Chalkogenen in Silizium
Seite 9
Loading...
Monograph
ENDOR-Untersuchungen an Chalkogenen in Silizium
Place and Date of Creation
Paderborn
1987
JPEG-Download
avaibable widths
JPEG large
JPEG original
show thumbnails
hide thumbs