Schliessen
Publizieren
Besondere Sammlungen
Digitalisierungsservice
Hilfe
Impressum
Datenschutz
Detailsuche
Schnellsuche:
OK
Ergebnisliste
Titel
Titel
Inhalt
Inhalt
Seite
Seite
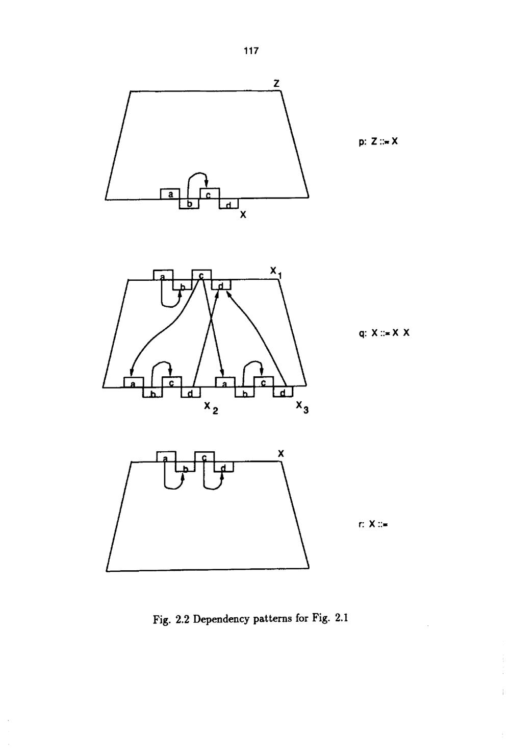
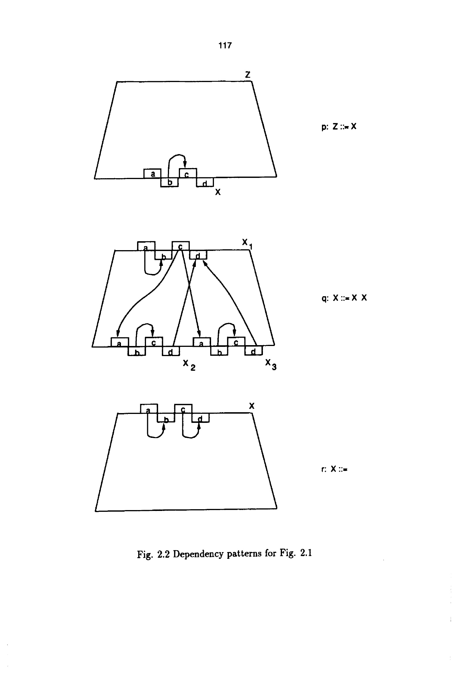
Implementation of visit-oriented attribute evaluators
Seite 4
Seite 2
Seite 3
Seite 4
Seite 5
Seite 6
Seite 7
Seite 8
Seite 9
Seite 10
Seite 11
Seite 12
Seite 13
Seite 14
Seite 15
Seite 16
Seite 17
Seite 18
Seite 19
Seite 20
Seite 21
Seite 22
Seite 23
Seite 24
Seite 25
Seite 26
Aufsatz in einem Sammelwerk
Implementation of visit-oriented attribute evaluators
Entstehung
2009
JPEG-Download
verfügbare Breiten
JPEG groß
JPEG original
Seiten an
Seiten aus